你的位置:首页 > 新闻资讯 > 技术文章 > 口腔灯阴影测试工装

口腔灯阴影测试工装

口腔灯阴影测试工装

技术文章

口腔灯阴影测试工装

 

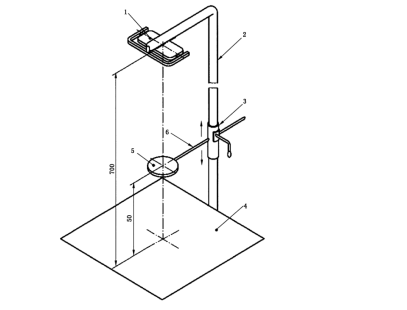
执行标准:

YY/T 1120-2021中7.3.8

 

技术参数;

圆盘直径:φ 20mm (厚:1mm)

距离测量屏:50mm                                               

测量屏:带直角坐标系                    

光源距屏:700mm     

工装包含柱、调节用滑动环、测试屏、杆

image.png 

配置清单

工装一套,合格证一份,铭牌一份。